Click to reach us online

Flange Caps

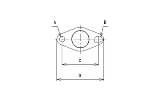
Picture

CAP No.

Material

A: Hole Size

B: Hole Size

C: Holes Pitch

D: Outside Diameter

CAP 0+5

Aluminum

3.2×4.2

3.2×4.2

24

32

CAP 1+5

Aluminum

-

-

-

-

CAP 2+5

Copper

-

-

-

-

CAP 3+5

Stainless Steel

3.2×4.2

3.2×4.2

24

32

   

CAP 4+5

Aluminum

-

-

-

-

CAP 5+5

Stainless Steel

3.2×4.2

3.2×4.2

24

32

CAP 5+6

Aluminum

3.2

3.2

23

32

CAP A+5

Aluminum

3.2×4.2

3.2×4.2

24

32

CAP F+5

Aluminum

φ3.7

φ3.7

23.8

32

CAP Q+5

Copper

3.2×4.2

3.2×4.2

24

32

CAP T+5

Aluminum

-

-

-

-

CAP U+5

Copper

-

-

-

-

CAP V+5

Stainless Steel

3.2×4.2

3.2×4.2

24

32

CAP V+9

Stainless Steel

3.6+4.2

3.6+4.2

24

32

CAP A+B

Stainless Steel

-

-

-

-

CAP Y+B

Stainless Steel

3.2×4.2

φ3.7

24

32

CAP A+D

Stainless Steel

-

-

-

-

CAP Y+D

Stainless Steel

3.8×5.4

φ3.8

24

31

CAP W1+H

Aluminum+Stainless Steel

3.2×4.2

φ3.6

24

31

 

Flange CapsFlange Caps